avatar of 操盘日志 操盘日志
关注 私信
4
关注
3
关注者

2025年第42周测试记录(第一次程序化期权一天赚100%收益)

创建于: 2025-10-13 17:42:23, 更新于: 2025-10-14 12:44:24
comments   0
hits   12

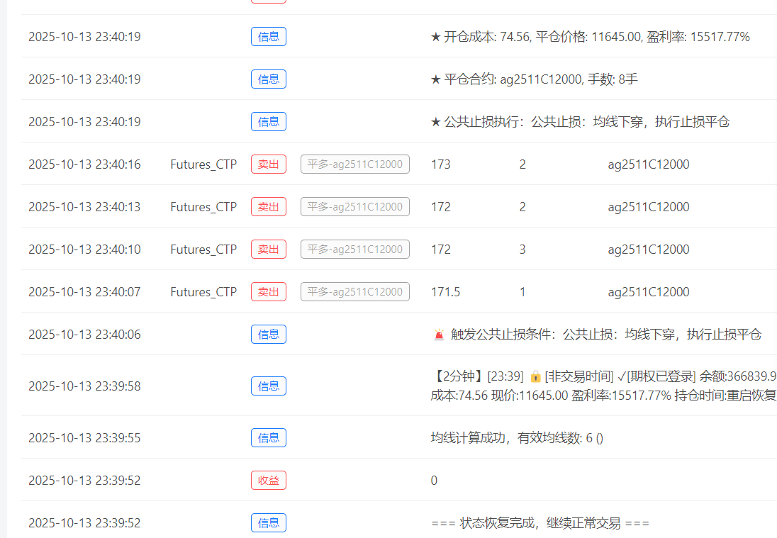
2025年第42周测试记录(第一次程序化期权一天赚100%收益) 2025年第42周测试记录(第一次程序化期权一天赚100%收益) 2025年10月13日,第一次用优化后的隔夜系统一天内赚100%收益期权。 程序化期权的魅力就在于此,一天内可实现爆力翻倍。 不过这个策略一直有个问题解决不了,就是策略中途重启后,统计收益的累计功能就归零,收益统计功能优化了几片还是改不过来。 所以以后如果需要准确的收益统计功能,只能是一个计划进行到底,中途不能优化系统和重启。 2025年第42周测试记录(第一次程序化期权一天赚100%收益) 白银期权于10月13日晚上平仓了。收益率出错了(出错原因在于程序执行中途,我对策略进行了优化和重启,导致出错)

相关推荐